Firestopping conduit risers has always been a challenge for electrical contractors on high-rise construction projects. Typically anywhere from 8-20, 4″ conduits rise through the building, originating in the basement and continuing up the building through fire-rated floors. There are a few solutions that can be installed to restore the hourly rating of the floor; and STI Firestop has all of them!
COMPOSITE SHEET
Many contractors favor the ascetic finish of STI composite sheet as per UL System CAJ8181. Here is a picture of Five Star Electric’s work at World Trade Tower 1. Note how the conduit were at minimum of 1″ apart and the sheets overlaped the opening by 2″ on all sides. Great work Five Star!
MORTAR
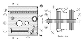
When the price of product is a consideration, sometimes contractors turn to STI Firestop Mortar as per UL System CAJ 8055. Zwicker Electric use
d and engineering judgement similar to this drawing which as based off of CAJ 8055 this system at the Bank of America Tower. Mortar can sometimes be challenging, as you need to form out the opening from below. A lift rental due to a high ceiling and/or additional labor due to having to work both below and above the slab, could negate any product price savings.
PILLOWS
For the quickest install and when a future condu
it run through the opening is a consideration, Firestop Pillows as per UL System CAJ 8093 may be the best solution as it was for EJ Electric at JFK Airport. Note that for larger openings wire mesh will need to be installed at the top and bottom of the opening after the pillows are installed.
INTUMESCENT SEALANT – (LCI)
The final solution that is common among contractors for firestopping risers is mineral wool and STI LCI Intumescent Sealant as per CAJ 8113. You can see a snapshot of this “super-system” showing multiple penetrants, including conduit. This is not
an easy install and can be very messy. If full
mineral wool compression is not achieved, in a larger opening in particular, the mineral wool could cave in from the weight of the sealant resulting in a re-install, and no one wants that.
A special thank you to David Augello, STI Northeast Regional Manager for the idea and content for this article.